
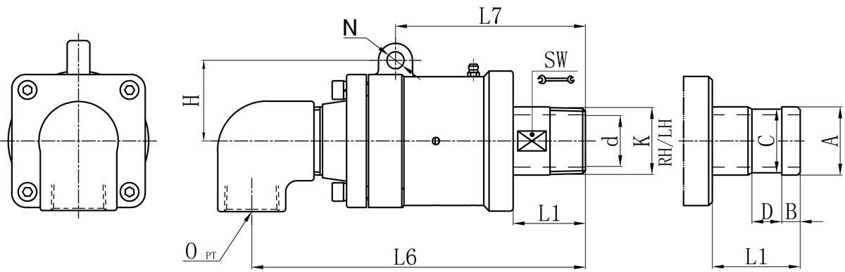
| Model | K | O | d | L1 | L6 | L7 | N | H | SW | 法兰式外管尺寸比照表 | |||
| A | B | C | D | ||||||||||
| 20A | R3/4" | Rc3/4" | 18 | 48 | 175 | 107 | 8 | 37 | 26 | 26 | 11 | 24 | 16 |
| 25A | R1" | Rc1" | 22 | 50 | 184 | 112 | 10 | 44 | 30 | 34 | 12 | 32 | 18 |
| 32A | R1-1/4" | Rc1-1/4" | 30 | 60 | 212 | 129 | 12 | 55 | 41 | 40 | 13 | 38 | 20 |
| 40A | R1-1/2" | Rc1-1/2" | 36 | 64 | 235 | 149 | 12 | 57 | 45 | 47.8 | 13 | 45 | 20 |
| 50A | R2" | Rc2" | 46 | 77 | 290 | 178 | 12 | 72 | 58 | 60 | 16 | 57 | 24 |
| 65A | R2-1/2” | Rc2-1/2” | 60 | 88 | 325 | 207 | 14 | 92 | 70 | 74 | 19 | 70 | 24 |
如属规格品外,,,,,本公司可配合要求制作。。。。。。。。
规格尺寸若有修改,,,,,恕不另行通知。。。。。。。。
Copyright ?yl6809永利 版权所有 闽ICP备05026600号 中机标准化研究院 网站建设:科伟网络